| Start
Experimente
- LED-Lampen 1
- LED-Lampen 2
- LED-Lampen 3
- PR4401-1
- PR4401-2
- PR4401-3
- PR4402 40 mA
- PR4403 Solar
- PR4101 12 V
Grundlagen
Produkte
Neues
Impressum
|
Experimente
mit dem PR4401

SMD-Bauteile
sind platzsparend, aber wenn man experimentieren
möchte, sind Bauteile mit Drahtanschlüssen
praktischer. Deshalb
wurde der PR4401 auf eine Adapterplatinchen mit vier
Anschlüssen gelötet.
Als Basis dazu diente ein Stück Lockrasterplatine. In dieser
Form
können nun auch Laborsteckbretter zum Aufbau genutzt werden.
Allgemein sind moderne Bauteile immer kleiner geworden und eignen sich
eigentlich nur noch für eine professionelle SMD-Bestückung
mit Robotern und SMD-Öfen. Für die Hobbyelektronik
und für Prototypen und Probeaufbauten kann man oft auf fertige
Adapterplatinen zurückgreifen
oder sich solche selbst bauen. In einigen Fällen muss dabei
allerdings die verlängerte Leitungsführung beachtet
werden, wodurch sich die HF-Eigenschaften ändern
können. Damit steigt die Gefahr, dass wichtige
EMV-Eigenschaften verschlechtert werden. In diesem Fall sind die
Leitungslängen jedoch völlig unkritisch, weil der
PR4401 mit relativ geringer Schaltfrequenz arbeitet. |

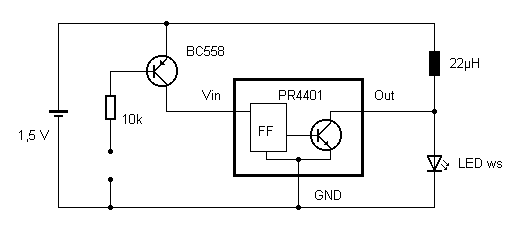
| Der Versuch zeigt einen
Berührungssensor. Der
PNP-Transistor wird leitend, wenn man die beiden Drahtenden
berührt.
Er muss nicht den gesamten Laststrom einschalten, denn es reicht, nur
den
Anschluss Vin zu schalten, der dann wie ein Enable-Eingang mit geringem
Strom arbeitet. |

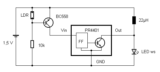
| Nach dem gleichen
Prinzip kann auch ein Dämmerungsschalter
gebaut werden. Der Transistor sperrt, wenn genügend Licht auf
den
Fotowiderstand fällt. |

| Die Schaltschwelle kann
in weiten Grenzen durch den
verwendeten Widerstand verändert werden. Mit einem Widerstand
von
10 k schaltet der Transistor ab, wenn der LDR etwa 5 k aufweist. |

|